中国·8827太阳集团

行业动态

了解最新公司动态及行业资讯

土壤破碎中的几个缺点

2018-11-29 01:58:06 312 编辑:admin 来源:本站
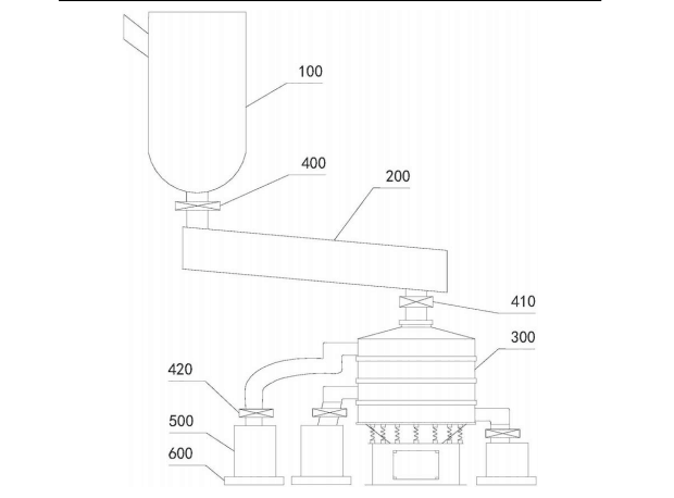
      在化工领域常常需要破碎机械将土壤破碎为小颗粒状,以增加物料的表面积,以 能够为缩短物料的化学反应的时间创造有利条件。 旋振筛是一种高精度细粉土壤筛分机械,其噪音低、效率高,快速换网需3-5分钟,全封 闭结构,适用于粒、粉、粘液等物料的筛分过滤。旋振筛是由直立式电机作激振源,电机上、 下两端安装有偏心重锤,将电机的旋转运动转变为水平、垂直、倾斜的三次元运动,再把这 个运动传递给筛面。调节上、下两端的相位角,可以改变物料在筛面上的运动轨迹。
土壤破碎 

现有技术中,采用人工方式将物料从破碎机械处取出,再倒入旋振筛内进行筛分。 但是这样操作具有如下缺点: 
   1、在土壤破碎机械处取物料时与倒入旋振筛内物料时,物料中小颗粒物容易逸出到空 气中,污染空气,还容易被操作人员吸入而影响身体健康。 
   2、现有的土壤破碎机破碎效果较差,进而导致经旋振筛进行筛分的合格的小颗粒物物 料的生产效率。 
   3、人工操作的效率低下。 
因此,我们提供一种新的土壤破碎筛分装置及其系统,以减少物料中 小颗粒物逸出到空气中,以及提高生产效率。

30

装备制造经验

立即免费获取土壤修复方案

为用户提供及时、高效、便捷的服务

在线咨询
中国·8827太阳集团环境希望与你携手,共创美好未来...
5