中国·8827太阳集团

行业动态

了解最新公司动态及行业资讯

滚筒土壤筛分设备的优缺点

2018-10-17 01:23:42 295 编辑:admin 来源:本站
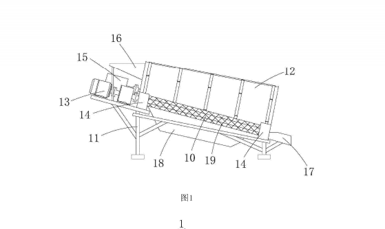
      滚筒土壤筛分设备广泛用于垃圾,工业原料,矿石等的筛选,现有的滚筒式土壤筛分机大多采用的是转轴来带动滚筒筛进行转动,且筛网通常采用整体结构,这种结构使得设备的维护性能低,需要大量的人力和时间进行维护;此外,设备底部缺少拨料装置,物料堆积后容易出现筛选不充分且筛分效率低。因此我们公司有一种结构简单设计合理。互换性高,维护成本低的滚筒土壤筛分设备出现了。
土壤筛分
      一种滚筒土壤筛分设备,所述滚筒筛分设备包括机架、滚筒筛、驱动装置、托轮、拨料装置,所述托轮呈矩形结构安装于所述机架,所述滚筒筛设于所述托轮,所述驱动装置采用单侧驱动所述托轮以摩擦带动所述滚筒筛转动,所述拨料装置固定于所述滚筒筛一端的所述机架,包括电机、曲柄摇杆机构、转轴、拨杆,所述电机驱动所述曲柄摇杆机构,所述转轴通过联轴器联接所述曲柄摇杆机构设于所述滚筒筛中下位置,所述拨杆设有多根,间距设于所述转轴底部。本实用新型结构设计合理,通过在所述滚筒筛设一所述拨料装置,提高了筛分效率和筛分效果,避免了筛分不完全的状况。

30

装备制造经验

立即免费获取土壤修复方案

为用户提供及时、高效、便捷的服务

在线咨询
中国·8827太阳集团环境希望与你携手,共创美好未来...
5