中国·8827太阳集团

行业动态

了解最新公司动态及行业资讯

石头土壤破碎设备的技术方案

2018-09-18 00:41:45 359 编辑:admin 来源:本站
        建筑是建筑物与构筑物的总称,是人们为了满足社会生活需要,利用所掌握的物 质技术手段,并运用一定的科学规律、风水理念和美学法则创造的人工环境,而建筑需要用 到的材料很多,而建筑最基本的则是地基,地基打得好,建筑的安全系数才更高,目前,很多 的建筑工程中都要用到石头来打地基,用以打实土地,而石头在开采出来后,往往都比较 打,不能用来作为地基使用,而人工破碎过于缓慢和低效率,为此,我们提出一种石头土壤破碎设备。 
土壤破碎

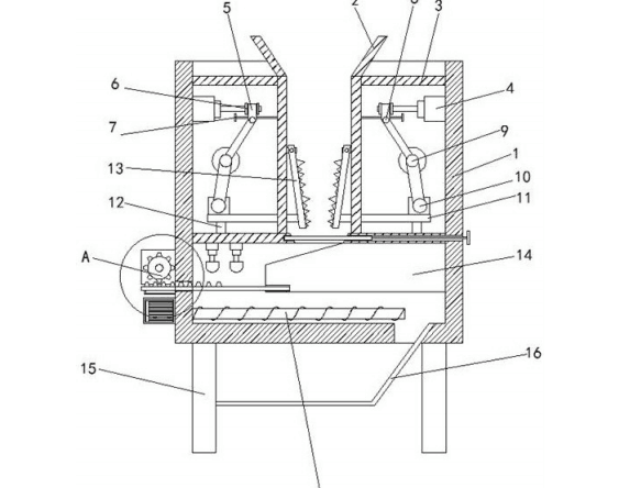
      一种石头土壤破碎设备,包括破碎箱,所述破碎箱的内部装设有两个对称设置的L型的安装 板,所述破碎箱的上端设有进料口,且进料口位于两个所述安装板之间的上端,两个所述安 装板的下端共同连接有支撑底板,每个所述安装板、支撑底板和破碎箱的内侧壁之间装设 有第一驱动电机,且第一驱动电机装设在破碎箱的内侧壁上,所述第一驱动电机的驱动轴 上装设有两个平行的限位块,位于两个所述限位块之间的所述第一驱动电机的驱动轴上装 设有固定块,所述固定块的下侧设有限位杆,且限位杆贯穿固定块并与安装板固定连接,所 述固定块的下端设有第一转动轴,所述第一转动轴上转动连接有第一转动杆,所述第一转 动杆远离固定块的一端通过第二转动轴转动连接有配重块,所述配重块上还转动连接有第 二转动杆,所述第二转动杆远离配重块的一端转动连接有凸块,所述凸块和第二转动杆之 间通过第三转动轴转动连接,所述凸块的下侧设有移动杆,所述移动杆的一端贯穿安装板 并连接有破碎板,所述破碎板的一端与安装板固定连接,所述破碎板的另一端设有第四转 动轴,且破碎板通过第四转动轴与安装板转动连接,所述支撑底板的下侧设有倾斜台,所述 支撑底板的中部还设有下料口,且下料口位于两个所述安装板之间,所述倾斜台和破碎箱 的内侧壁之间设有齿条板,且倾斜台的侧壁中开设有与齿条板相匹配的凹槽,所述破碎箱 的外侧壁装设有第二驱动电机,所述第二驱动电机的驱动端连接有齿轮,且齿轮和齿条板 相啮合。

30

装备制造经验

立即免费获取土壤修复方案

为用户提供及时、高效、便捷的服务

在线咨询
中国·8827太阳集团环境希望与你携手,共创美好未来...
5