中国·8827太阳集团

行业动态

了解最新公司动态及行业资讯

土壤筛分设备的激振器

2018-09-07 00:48:18 317 编辑:admin 来源:本站
       土壤筛分设备广泛应用于工业行业,将原料或初级产品经过筛网使得按物料粒度大小 分成若干个等级通常,基于震动原理的筛分设备,其土壤筛分设备由筛体、筛板、横梁、激振器, 行走机构等组成,以上即土壤筛分设备的激振器,激振器生产成本高,设备故障率较高,且维修 不便,增加了生产及使用成本,经济性大大降低。 
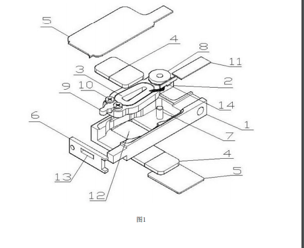
      土壤筛分设备的激振器,包括激振器骨架,激振器骨架上设置有屏蔽盖板,激振器骨架 与屏蔽盖板之间形成安装腔体,安装腔体内设置有磁铁和摆动臂,激振器骨架内设置有转 轴,摆动臂的一端套装在转轴上,摆动臂的另一端上设置有驱动臂,摆动臂上设置有线圈, 线圈与磁铁平行放置构成音圈马达,摆动臂在音圈马达的驱动下能够绕转轴在安装腔体内 摆动并且通过驱动臂带动筛分设备刀头摆动。 
      采用上述技术方案的本发明,与现有技术相比,其突出的特点是: 简化了激振器的内部结构,采用全新音圈马达,易于调试和组装,制作简单,消除原有 产品对零件制造精度要求极高等缺点,提高了生产效率,降低了生产成本。 
土壤筛分

      作为优选,本发明更进一步的技术方案是: 激振器骨架上设置有限位板,限位板上设置有限位孔,驱动臂穿过限位孔伸出安装腔 体外,设置限制摆动臂最大摆动角度的限位板,用于对驱动臂起定位作用,增加其动作的稳 定性。

30

装备制造经验

立即免费获取土壤修复方案

为用户提供及时、高效、便捷的服务

在线咨询
中国·8827太阳集团环境希望与你携手,共创美好未来...
5