受污染的土壤需要采用土壤修复技术进行治理,确保其满足人体健康的需求。土 壤修复技术主要是指利用物理、化学和生物的方法通过转移、吸收、降解和转化等方式使土 壤中的污染物的浓度降低到可接受水平,或将有毒有害的污染物转化为无害的物质。其按 修复场地可分为原位污染土壤修复设备和异位污染修复。异位污染土壤修复常用的成熟技术包 括异位化学氧化修复、异位化学还原修复、异位固化稳定化修复等,一般来讲,这些技术通 常需要对污染土壤进行破碎,将大块的土壤达到较小的粒径,然后与药剂充分混合,达到土 壤修复处理的目的。

目前,部分异位污染土壤修复设备在进行破碎、混合处理时往往采用单机破碎、单机混 合和人工加药的方式,未形成统一的自动化系统,因而投入较多的人力物力。另外,由于药 剂和污染土壤的混合不均匀可能导致修复效率低等问题,同时,分开作业可能需要采取更 多的二次污染防护措施。
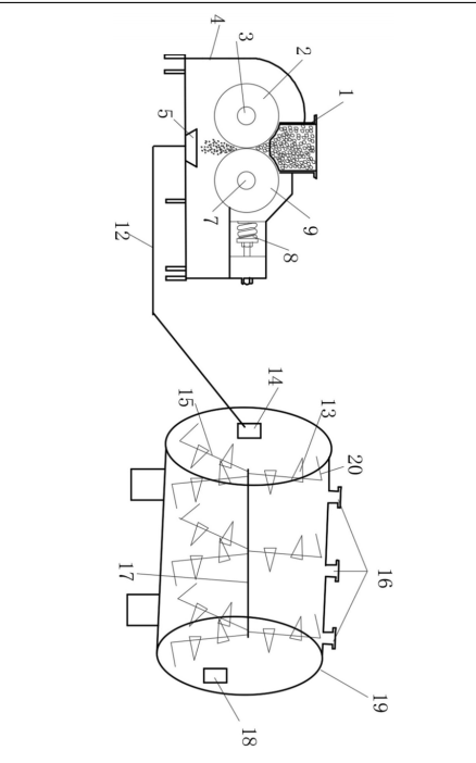
为解决这个技术问题提供了一种异位污染土壤修复设备,包括破 碎系统、输送机和投药混合系统,所述的破碎系统包括土壤料仓,双齿辊、破碎机壳和下料 区接口,所述的双齿辊是由固定齿辊和活动齿辊所组成,所述的固定齿辊和活动齿辊分别 套装在第一转动轴和第二转动轴上,所述的固定齿辊和活动齿辊水平设置在破碎机壳内, 所述的活动齿辊与间隙调节装置相连,所述的土壤料仓穿过破碎机壳的顶壁伸入至破碎机 壳内,所述的固定齿辊与活动齿辊之间的间隙位于的土壤料仓的正下方,所述的下料区接 口安装在破碎机壳的底部,所述的下料区接口位于固定齿辊与活动齿辊之间间隙的正下 方,所述的输送机的一端连接在下料区接口的下料口处,所述的输送机的另一端与投药混 合系统相连。
郑州市长椿路11号国家大学科技园孵化1号楼513
电话:0371-61772378
邮箱:desenhuanjing@163.com
微信公众号
中国·8827太阳集团环境抖音号 30年
装备制造经验
为用户提供及时、高效、便捷的服务